codice 10.820 a due galleggianti
Il tipo 10.820 ha la testata che porta due aste di comando e due galleggianti.
Ogni asta di comando può commutare il segnale di 1 Reed (a contatto semplice o di scambio).
Per ogni asta può essere scelto lo schema elettrico più adatto S o S2 tenendo presente che le combinazioni sono due: S1+S1 o S2.
Altre combinazioni sono possibili cambiando il tipo di connettore esterno.
Normalmente i livelli vengono forniti con l'asta di comando di minimo livello (1) che che chiude i contatti in assenza di liquido e l'asta di comando di massimo livello (2) che chiude in presenza di liquido.
Se si desidera ricevere l'asta di comando predisposta in modo diverso, lo si dovrà indicare nella richiesta.
N.B.: per le lunghezze superiori ai 500 mm. e per i serbatoi in cui vi è forte turbolenza, richiedere il tipo rinforzato (sigla "R").
|

|
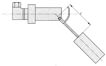
codice 10.830 - fissaggio laterale
Questo livello d'uso "laterale" è molto versatile e può essere anch'esso utilizzato per il controllo del minimo e massimo livello e per il controllo del minimo più vuoto o massimo e troppo pieno.
A differenza della serie verticale la distanza tra il 1° ed il 2° segnale non è fisso, ma ha un valore angolare, che aumenta progressivamente con la lunghezza "L" dell'asta di comando.
Ciò consente al progettista vaste possibilità di scelta; variando infatti la lunghezza "L", variano i punti di intervento del 1° e del 2°
Reed.
|
 |